Circuito inovador alerta quando um raio está se aproximando de sua estação!
Publicado 04. May, 2012 por PY2JF - João Roberto como Notícias
Por Bill Schweber – EDN.
Unterpremstaetten, Áustria – Não precisamos contar à vocês os danos que os raios causam em nossos equipamentos eletrônicos e até mesmo nas pessoas. Enquanto boas práticas de projeto, dispositivos de supressão de transientes e senso comum ajudam a minimizar os danos, seria muito útil sabermos quando um raio está se aproximando e quão longe ele está.
Até então, algo assim já existia, mas eram instrumentos caríssimos acomodados em caixas enormes. Mas a Austria Microsystems pretende mudar radicalmente esse cenário com seu AS3935 Franklin Lightning Sensor IC. Foi nomeado de (Benjamin) Franklin por causa de seus experimentos com raios, é claro. Dizem que é o primeiro circuito integrado para executar esta função. Trata-se de um componente pequeno, de baixa potência, que em conjunto com uns poucos circuitos passivos e um microcontrolador para interface de gerenciamento, permitirá detectar relâmpagos. Ele poderá ser implementado em instrumentos de alerta pessoais, em GPS, em instalações de redes inteligentes e sistemas de energia.
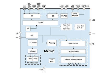
O AS3935 Franklin Lighting Sensor IC da austriamicrosystems usa um front end
analógico mais algorítimos embarcados para detectar a aproximação de raios.
Ao contrário de detectores mais simples que sofrem de alarmes falsos, o dispositivo utiliza uma bobina de campo magnético de detecção como parte de seu receptor RF para detectar as emissões elétricas de raios de forma ajustável de 1 Km até 40 km. Ele avalia a distância não por força do sinal sozinho, mas por análise própria da forma de onda usando algoritmos proprietários, integradas, baseadas em padrões normais de pesquisa e dados meteorológicos. Como consequência, ele não é “enganado” por perturbações locais, tais como fornos de microondas, motores próximos, ou outras fontes de transientes, observa Johnsy Varghese, gerente de marketing.
[Um aparte: Um dos melhores projetos do tipo “ faça você mesmo” para novatos e hobbistas apareceu na QST de Abril de 2002. “Um Detector de Raios para o Shack”, (desculpe, mas o link online é apenas para assinantes). Ele usa quatro transistores low-end, alguns componentes passivos não críticos, uma lâmpada de lanterna de 2.5V, fonte de 3V, e não há tem desafios do layout da placa de circuito impresso. No entanto, é susceptível a falsos alarmes, uma vez que não tem inteligência de processamento, pois é um circuito analógico. Já o AS3935 tem um poder incrível, e consome apenas 60mA em 5V no modo de escuta (onde estará a maior parte do tempo). Ele precisa apenas de sete componentes passivos, e tem portas I2C e SPI para interface com o microcontrolador de apoio (MCU) – todos os algoritmos de análise de sinal são incorporados dentro dele e não exigem qualquer esforço de processamento do microcontrolador.]

Dentro do AS3935, a saída do sinal analógico é analizada por algorítimos integrais
de análises de formas de onda, baseados em padrões de modelo de dados.
Preço, suporte e disponibilidade: O AS3935 é disponível em encapsulamento MLPQ de 16 pinos e custa $3.55 (1,000 unidades) e já está disponível para amostras. Um kit de desenvolvimento contendo um modulo de testes, uma unidade emuladora de relâmpagos (Você tem que ter isso, certo?), e um pen drive com projetos de hardware, softwares como uma interface GUI também estará disponível.
Fonte da informação original: Elektor Newsletter
